除了新品接连被曝光之外,苹果在本周又刚刚获得了一项新专利,允许用户在一些触屏设备上完成3D对象的制作和打印。据悉,此专利是在2012年7月提交的,该专利主要是允许系统检测到悬空的触摸动作以及3D手势的输入,最终生成三维对象并实现打印功能。

苹果最新的3D手势输入

苹果最新的3D手势输入
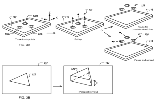
根据美国专利和商标局公布的苹果专利来看,它可以实现操纵三维物体的动作。用户通过触摸显示屏,在两个点之间拉起一个突出的部分,最终生成立体的三角形部 分。相信对于如此抽象的概念,我们暂且只有在一些科幻电影中才看得见。但事实上这的确是一种可以实现的空中手势技术,主要通过传感器来识别。不知道未来的 iPad是否可以具备如此强大的特异功能呢?
转载请注明出处。









相关文章
热门资讯
精彩导读
























关注我们




